• Увеличение прибыльности АЗК
8 800 2500 740ЗВОНОК БЕСПЛАТНЫЙ
Клапан донный 692.00.00.00
Клапан донный 692.00.00.00
Клапан донный 692.00.00.00
Клапан донный 692.00.00.00

КЛАПАН ДОННЫЙ 692.00.00.00

Код товара: 11233
Нашли дешевле?
Под заказ с центрального склада
Вопрос о товаре?
За подробной информацией обратитесь к нашим экспертам по бесплатному номеру (93)388-1-740

Описание

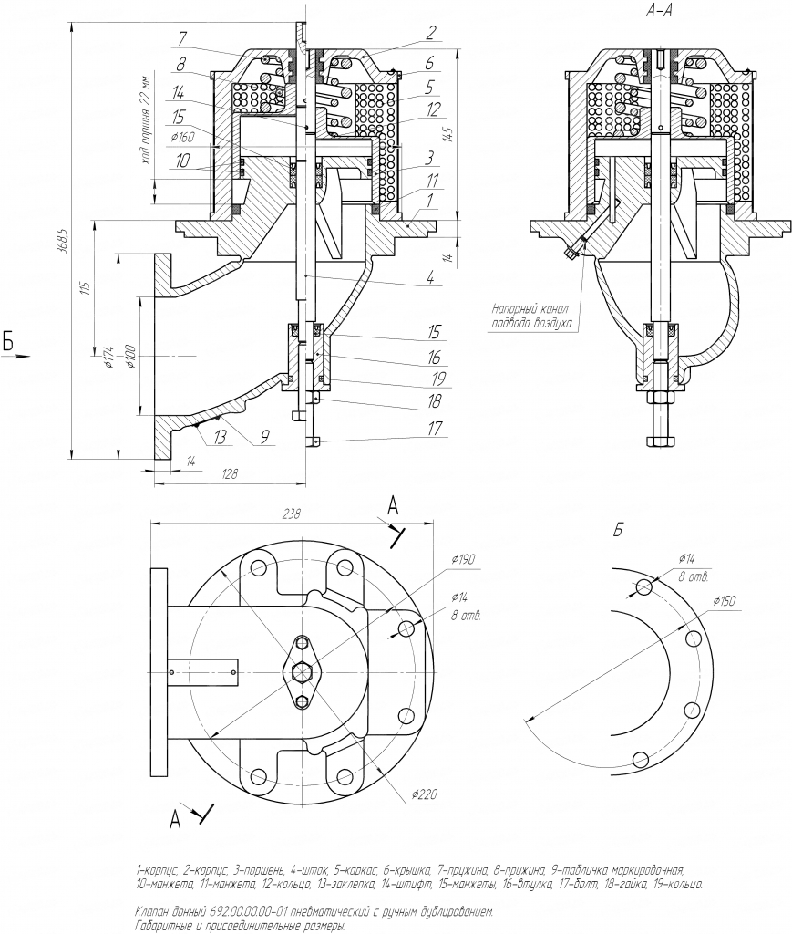
Клапан донный 692.00.00.00 используется при сливе нефтепродуктов из автоцистерн, бензовозов и прочего транспорта выполняющего транспортировку топлива.

Конструкция клапана предусматривает установку в нижней части транспорта так что бы происходил 100% слив топлива.

Использование предусматривает надежную работу в диапазоне от -40 °С до +50 °С, а качественное уплотнение исключает вероятность утечек.

Клапан является сбалансированным по давлению и управляется с помощью пневматики.

Изготавливается в нескольких исполнениях:
- 692.00.00.00 (без возможности аварийного ручного управления)
- 692.00.00.00-01 (с возможностью аварийного ручного управления)

В комплект поставки так же дополнительно входят прокладки 788.00.00.04 и 788.00.00.05

Технические характеристики клапана:

    Параметры
    Значения
    Расход, л/мин
    2000
    Давление, МПа
    0,8
    Время закрытия, с
    1,5-3
    Условный проход, мм
    100
    Давление пневмосистемы, МПа
    0,55
    Температура окр. среды, С
    -40...+50
    Масса не более, кг
    6,8
    Материал прокладок 788.00.00.04 и 788.00.00.05
    Резиновая смесь 3826с НТА ТУ 005-1166-8

    Габаритные и присоединительные размеры:

Доставка и оплата

Доставка по России возможна любым удобным для заказчика способом. Возможные варианты:

Транспортная компания «Деловые линии»:
Ежедневно мы отправляем Ваши заказы данной транспортной компанией.
Примерные сроки и стоимость доставки можно посмотреть на сайте транспортной компании или узнать у наших сотрудников.
При выборе данной транспортной компании - доставка до терминала в г. Москва производится за наш счет!

Курьерская компания «СДЕК»:
Примерные сроки и стоимость доставки можно посмотреть на сайте компании. Точные стоимость и сроки доставки может рассчитать наш менеджер. Доставка осуществляется по указанному заказчиком адресу.

Другие транспортные компании и курьерские службы:
Наша компания работает с большинством известных транспортных компаний, таких как GTD (Кашалот), ПЭК, Ратек, Байкал-Сервис, Энергия, Dimex и т.д.
Если у Вас или Вашей организации есть договор с какой-либо транспортной компанией доставляющей для Вас грузы, мы можем передать Ваш заказ представителям транспортной компании у нас на складе.

Другие варианты:
Позвоните нам или напишите, обсудим предложенные Вами варианты.

Для оплаты доступно несколько способов:

Юридическим лицам - безналичным переводом

После оформления заказа и согласования с нашими сотрудниками Вам будет выслан счёт на оплату на Ваш адрес по эл.почте или факсу.

Физическим лицам

К оплате принимаются платежные карты: VISA, MasterCard, Мир.

Для оплаты товара через СБП при оформлении заказа в интернет-магазине выберите способ оплаты: с помощью QR-кода.

Подробнее о способах оплаты

Гарантия

На поставляемое оборудование распространяются заводские гарантии, с обозначенным сроком в паспорте изделия. В случае выхода из строя оборудования до истечения срока гарантийного срока данное оборудование отправляется на завод-изготовитель для выявления причин выхода из строя. Если поломка вызвана заводским браком, то данная неисправность устраняется или оборудование меняется на новое. В этом случае расходы на транспортировку компания «АЗС Комплект» возьмет на себя.

Если поломка вызвана неправильной установкой или эксплуатацией оборудования, транспортные расходы оплачиваются покупателем.

Перед установкой и началом эксплуатации оборудования мы настоятельно рекомендуем подробно ознакомиться со всей сопутствующей документацией, или обратиться в нашу кампанию за профессиональной установкой и обслуживанием приобретаемого оборудования.

Подробнее можно ознакомиться на странице О гарантии.

2 028 140 UZS
Отзывы о компании
[Error] 
Undefined constant "ADMIN_SECTION" (0)
/home/bitrix/www/bitrix/modules/cackle.reviews/epilog.php:3
#0: include_once
	/home/bitrix/www/bitrix/modules/main/tools.php:5229
#1: ExecuteModuleEventEx
	/home/bitrix/www/bitrix/modules/main/classes/general/main.php:3737
#2: CAllMain::RunFinalActionsInternal
	/home/bitrix/www/bitrix/modules/main/lib/application.php:371
#3: Bitrix\Main\Application->terminate
	/home/bitrix/www/bitrix/modules/main/lib/application.php:332
#4: Bitrix\Main\Application->end
	/home/bitrix/www/bitrix/modules/main/classes/general/main.php:3703
#5: CAllMain::FinalActions
	/home/bitrix/www/bitrix/modules/main/include/epilog_after.php:61
#6: require(string)
	/home/bitrix/www/bitrix/modules/main/include/epilog.php:4
#7: require_once(string)
	/home/bitrix/www/bitrix/footer.php:4
#8: require(string)
	/home/bitrix/ext_www/azsk74.uz/catalog/index.php:666
#9: include_once(string)
	/home/bitrix/www/bitrix/modules/main/include/urlrewrite.php:128
#10: include_once(string)
	/home/bitrix/www/bitrix/urlrewrite.php:2
----------